主要儀器設備
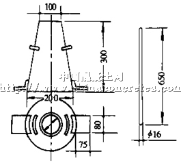
(1)坍落度筒 坍落度筒是由薄鋼板或其他金屬制成的圓臺形筒(見圖1)。底面和頂面應互相平行并與錐體的軸線垂直。在筒外2/3高度處安兩個把手,下端應焊腳踏板。筒的內部尺寸為:

圖1 坍落度筒及搗棒
底部直徑(200±2)mm
頂部直徑(100±2)mm
高 度(300±2)mm
(2)搗棒(直徑16mm,長600mm的鋼棒,端部應磨圓)、小鏟、尺、拌板、鏝刀等。
試驗步驟
(1)潤濕坍落度筒及其他用具,并把筒放在不吸水的剛性水平底板上,然后用腳踩住兩邊的腳踏板,使坍落度筒在裝料時保持位置固定。
(2)把按要求拌好的混凝土拌合物用小鏟分三層均勻地裝入筒內,使搗實后每層高度為筒高的1/3左右。每層用搗棒插搗25次。插搗應沿螺旋方向由外向中心進行,各次插搗應在截面上均勻分布。插搗筒邊混凝土時,搗棒可以稍稍傾斜。插搗底層時,搗棒應貫穿整個深度,插搗第二層和頂層時,搗棒應插透本層至下一層的表面。澆灌頂層時,混凝土應灌到高出筒口。在插搗過程中,如混凝土沉落到低于筒口,則應隨時添加。頂層插搗完后,刮去多余混凝土并用抹刀抹平。
(3)清除筒邊底板上的混凝土后,垂直平穩地提起坍落度筒。坍落度筒的提離過程應在5~10s內完成。
從開始裝料到提起坍落度筒的整個進程應不間斷地進行,并應在150s內完成。
(4)提起坍落度筒后,量測筒高與坍落后的混凝土試體最高點之間的高度差,即為該混凝土拌合物的坍落度值(以mm為單位,結果表達精確至5mm)。
(5)坍落度筒提離后,如試件發生崩坍或一邊剪壞現象,則應重新取樣進行測定。二次仍出現這種現象,則表示該拌合物的和易性不好,應予記錄備查。
(6)測定坍落度后,觀察拌合物的下述性質,并記入記錄:
1)粘聚性 用搗棒在已坍落的拌合物錐體側面輕輕擊打,如果錐體逐漸下沉,表示粘聚性良好,如果錐體倒坍、部分崩裂或出現離析,即為粘聚性不好。
2)保水性 提起坍落度筒后如有較多的稀漿從底部析出,錐體部分的拌合物也因失漿而骨料外露,則表明保水性不好。如無這種現象,則表明保水性良好。
(7) 出盤的混凝土拌合物按以上進行坍落度試驗后得坍落度值H0;立即將全部物料裝入鐵桶或塑料桶內,用蓋子或塑料布密封。存放30min后將桶內物料倒在拌料板上,用鐵鍬翻拌兩次,進行坍落度試驗得出30min坍落度值H30;再將全部物料裝入鐵桶或塑料桶內,用蓋子或塑料布密封。存放60min后將桶內物料倒在拌料板上,用鐵鍬翻拌兩次,進行坍落度試驗得出30min坍落度值H60。
















